首 页 | 企业概况 | 产品展示 | 质量保证 | 客户服务 | 销售渠道 | 新闻中心 | 联系我们  人力资源 
欢迎光临!

22系列Φ2.36mm电源回路用楔形连接器

组成:1、端子 2、端子护套 3、铜针

基本规格 适用铜针 Φ2.36mm 22系列电源回路用楔形连接器
额定电流 5A AC、DC 绝缘电阻 1,000MΩMIN
额定电压 250V AC、DC 耐压 AC2,000V、1min
接触电阻 20mΩMAX 适用温度范围 -25℃~+90℃(80℃)

1、端子:1718X-XX系列

订货号 适用电线范围mm2(AWG#) 绝缘层外径Φmm 材料 表面处理 配合护套
17181-1 0.2~0.7(#24~#20) Φ2.0Max 黄铜 -1:防锈处理

-2:镀锡

-M2:预镀锡

22系列
-2
-M2
17182-1 磷青铜
-M2
17183-1 Φ2.8Max 黄铜
-2
-M2
17184-1 磷青铜
-2
-M2
17187-1 0.4~1.0(#20~#18) Φ2.8×1

Φ1.65×2

黄铜
-2
-M2
17188-1 0.2~0.7(#24~#20) Φ2.8Max
-2
-M2
17189-M2 磷青铜

2、端子护套:22系列

1P

订货号 针数 材料 颜色 配合端子
2220-5101 1 MPPO UL94V-0 黑色 1718X-XX系列
2220-5901 1 MPPO UL94V-0 灰色

2P

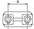
订货号 针数 尺寸A(mm) 尺寸B(mm) 尺寸C(mm) 材料 颜色(X) 配合端子
2220-5902 2 13.4 8.0 20.0 MPPO UL94V-0 灰色 1718X-XX系列
2220-9102 2 PBT UL94V-0 黑色
2220-9202 2 PBT UL94V-0 白色
2223-5102 2 MPPO UL94V-0 黑色
2265-5902 2 15.4 10.0 21.0 MPPO UL94V-0 灰色
2265-9002 2 15.4 10.0 21.0 PBT UL94V-0 自然色

4P

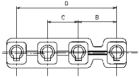
订货号 针数 尺寸A(mm) >尺寸B(mm) 尺寸C(mm) 尺寸D(mm) 尺寸E(mm) 材料 颜色(X) 配合端子
2221-4204 4 31.5 10.0 8.0 26.0 21.0 PA66 UL94V-0 白色 1718X-XX系列
2223-5104 4 31.5 10.0 8.0 26.0 21.0 PMPPO UL94V-0 黑色 1718X-XX系列

3、铜针

京ICP备 05054605
北京日端电子有限公司 电话:010-64359291 传真:010-64384277
地址:北京市朝阳区酒仙桥路10号 100016(电子城科技园区)